Service client joignable du lundi au vendredi de 10h à 18h au 02.32.45.52.60 ou par email

Palazzetti

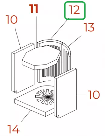
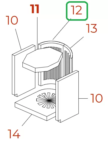
Réfractaire arrière gauche - PALAZETTI Réf. 895308053

Eco-part
Dont écotaxe :
Réf. : 895308053

Numéro 12 sur schéma en photo

Disponibilité
Sélectionnez un article pour voir la disponibilité de l’article
Vendu par :
Quantité minimum :
Ajouter au panier
Ajouter au panier
Ajouter au panier
Ajouter au panier
Soit un total de ,
Simulez vos mensualités

Appareils compatibles

Entreprise française Normandie
Paiement 100% sécurisé CB, PayPal, Chèque
Retrait
magasin
Bernay (27)
Livraison France et Europe France 10€
Envoi rapide et protégé Emballage soigné
Service client réactif 02 32 45 52 60