Service client joignable du lundi au vendredi de 10h à 18h au 02.32.45.52.60 ou par email

Accueil > Godin > Recherche par type de pièces détachées GODIN > Toutes les autres pièces détachées GODIN > PORTE FOYER 660106 (cadre de porte seul) - GODIN Réf. 22861660106000
Godin

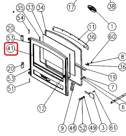
PORTE FOYER 660106 (cadre de porte seul) - GODIN Réf. 22861660106000

Eco-part
Dont écotaxe :
Réf. : 22861660106053-godin

= 12861660106000 = 22861660106053
fonte peinte coloris noir / anthracite

Numéro 41 sur schéma en photo

cadre de porte seul sans vitre, sans joint, sans poignée, sans fixations

Disponibilité
Sélectionnez un article pour voir la disponibilité de l’article
Vendu par :
Quantité minimum :
Ajouter au panier
Ajouter au panier
Ajouter au panier
Ajouter au panier
Soit un total de ,
Simulez vos mensualités
Entreprise française Normandie
Paiement 100% sécurisé CB, PayPal, Chèque
Retrait
magasin
Bernay (27)
Livraison France et Europe France 10€
Envoi rapide et protégé Emballage soigné
Service client réactif 02 32 45 52 60